立体量测仪简介

LCY-1型立体量测仪是由我国自己的生产的高精度视差法测图仪器,通过量测立体像对上的像点坐标和横纵视差,进行高程测量和在像片上描绘等高线。

LCY_1图像1 LCY_1图像2

仪器结构

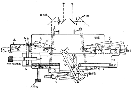
LCY-2型立体量测仪是平面型台式小型仪器,仪器放在桌子上面,与桌面倾斜15°,以利操作。其主要部件有基座、主车架、视差车架和左像盘、改正车架和右像盘、左右视差改正机件。观察系统是一个反光立体镜。仪器采用线状双测标,测标线上的小结用来标志像片盘的旋转中心。空间虚测标与地面视模型表面的交点是量测点的位置。改正机件共有六个,分别装在仪器的左方、右方和下前方。

LCY_1图像3 LCY_1图像4

左像片盘是借助视差车架间接置于主车架上,旋转视差螺旋 p可使之相对于主车架,亦即相对于右像片盘沿仪器 X 轴方向运动,在达到左方测标线对准左方像点后,就可取得左右视差读数。

右像片盘是安装在改正车架上。当主车架借 XX 螺旋沿仪器 X 方向运动时,改正车架带动其上的右像片盘,在航向改正机件的作用下将沿仪器 X 轴方向相对于主车架,亦即相对于左像片盘有改正的移位运动 δp1 和 δp2 。同时右方测标架在旁向改正机件 θ 的作用下,相应地旋转 θ′ 角,从而取得改正项 δp3 。此外,右方测标架在旁向改正机件 γ的作用下可旋转某一角度 γ ,用以取得左右视差改正值 δp4 。

左方测标线在视差螺旋 p引入左右视差较 Δp 时,在旁向补充改正机件 γ2的作用下旋转某一相应角度 δκ,用以在量测中引入左右视差改正项 δp6。仪器尚有一航向补充改正机件 γ1,在视差螺旋引入左右视差较 Δp时,可使航向改正机件额外增加改正正数 δp5。

反光立体镜置于像片盘上方,可在导轨上沿仪器 Y 轴方向移动,把像片的观测部分置于立体镜的视场中央。反光立体镜右方透镜还可作 Y 方向微小移动,用以消除像点的上下视差,以利立体观察。

工作原理

立体量测仪测图是分工法(微分法)测图中最常用的方法,其基本特点是地面点的高程和平面位置分别在两类不同的仪器上分两步来测定:先在立体量测仪上,利用理想像对上左右视差较与高差间的关系,测定出等高线与地物;由于航摄像片是中心投影,像片上各处比例尺是不一致的,再用投影转绘仪,将像片上的等高线与地物进行分带纠偏并统一比例尺,以消除倾斜误差,限制投影误差,使其成为正射投影的地形图。

立体量测仪测图的基本原理,主要包括三个部分:

在立体量测仪上描绘地貌测过程包括仪器检校、像对按主点连线定向、安置改正机件、测定高程注记点、描绘地貌、接边与检查。

思政元素

在计算机问世之前,由于模拟立体测图仪昂贵且数量不足,最早由苏联摄影测量工作者于1932年创造了CTД-1型立体量测仪(采用了4个改正机件),由此创造出分工法测图。我国科研工作者为了满足生产建设的需求,对CTД-2立体量测仪(采用了6个改正机件)进行了改进和创新,研制出了LCY-1、LCY-2(像幅为18厘米×18厘米)的和LCY-3型(像幅为23厘米×23厘米)立体量测仪,在我国测制1:100000、1:50000等中小比例尺地形图中发挥过重要作用。立体量测仪测图方法简便,已于掌握,且仪器轻便,易于携带,便于外业现场成图,有利于配合勘测工作的进行。

立体量测仪的作业过程经过几次工序的转换,增加了作业误差,损失了精度。我国测绘工作者在研究立体量测仪的基础上,进一步设计、研制了X-2、X-3型立体视差测图仪,不仅具有立体量测仪的优点,同时能完成所谓“一次成图”的功能,不需分带投影转绘,直接按像片描绘出地形图。