B8S立体测图仪简介

B8S立体测图仪是瑞士威特厂70年代的产品,它是单臂式恢复光束型机械投影类立体测图仪。仪器采用三角形加平行四边形的直接交会方式,像片不动,观测系统移动。机构紧凑、体积小、操作方便,像幅可达23cm×23cm,主要用于测绘中、小比例尺地形原图。

仪器结构

B8S立体测图仪由机械结构和光学系统两部分组成。机械结构包括基座、基线筒和基线导杆、投影镜像体、测绘台和投影导杆、拱形架和目镜箱、线性缩放仪等部分。除了可以用缩放仪连接绘图桌进行图解成图之外,还可以与数字化设备联用进行数字测图。如果在基座上换上“三轴定位器”,再通过接口设备,B8S测图仪可与EK22坐标自动记录装置、电子绘图桌和OR-1正射投影仪等设备连接起来,从而扩大仪器的使用范围并提高作业效率。

B8S图像1 B8S图像2

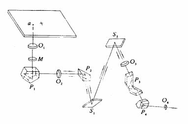
工作原理

B8S立体测图仪不设置By、Bz分量,以两根空间导杆模拟一对相交的同名光线,采用三角形加平行四边形的直接交会方式建立立体模型,再用双测标对模型进行立体观测从而获得模型点的地面坐标。

B8S投影光线的构成方式是像片固定不动、观测系统移动,即将观测物镜(包括测标)与参考像点固连,当机械导杆绕投影中心转动时,随着参考像点的移动而带动观测物镜的移动。

B8S图像3

思政元素

模拟立体测图仪根据仪器的结构特性分类可以分为: